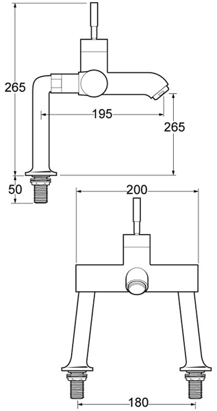
Bath filler tap.
We recommend a minimum pressure of 1.0 bar for best performance.
Product Code: D-EVO109
The Deva Concepts Evolution range mix aesthetic curved edges with a user friendly, joystick handle. Combines established shapes with high-tech features for today and tomorrow.
Long guarantees: 12 years on chrome brassware, and 5 years on showers and gold brassware.
